PC98RGBS V02L02
PC98シリーズおよび互換機のDsub15ピンアナログRGB出力をシュリンクDsub15ピンに変換します。水平同期周波数24kHzに対応したVGAディスプレイで表示できます。スライドスイッチをDsub15ピン側に倒すことで複合同期信号を出力し、スキャンコンバーターGBS8220などに対応します。
音声出力の3.5mmミニジャックを搭載。エプソン製互換機の一部ではFM音源の音声が出力されます。
未確認ですがPC-8801mkIISR以降のDsub15ピンアナログRGB出力にも対応しています。
また、PC98シリーズ対応のアナログRGBディスプレイにVGA出力の信号を接続することができます。(ただし水平同期周波数が24kHzであること)
試作時の情報はこちら
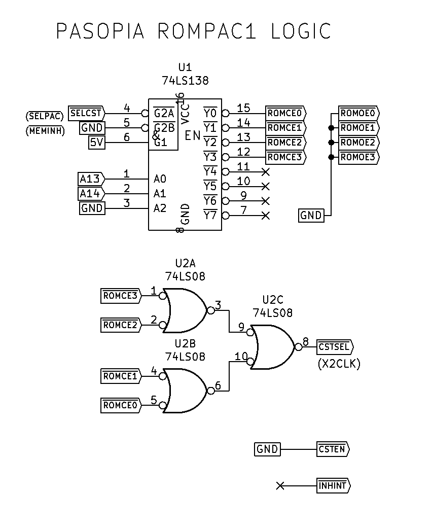
回路図 V02L01~から変わらず
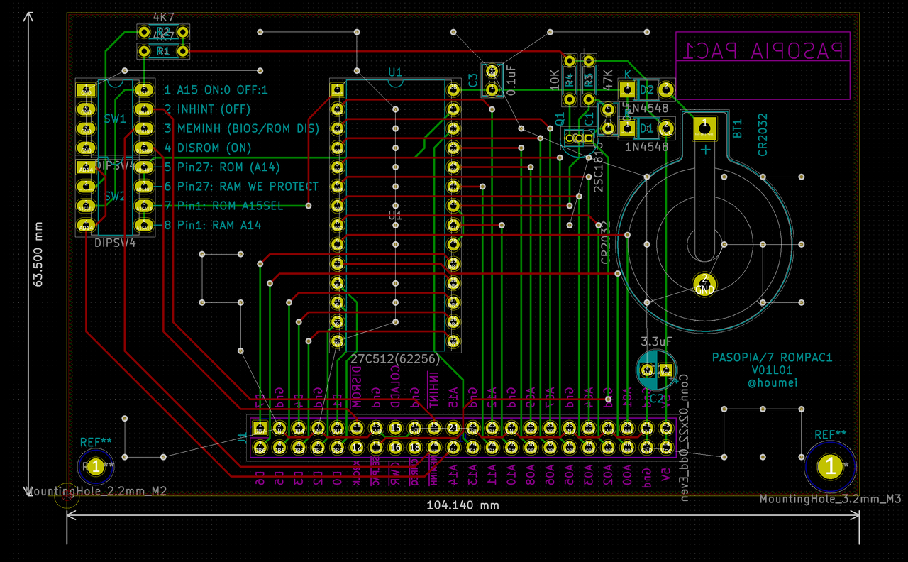
L02ではDsub15ピンコネクタ周辺の寸法のみ修正
boothにて配布予定です。
→販売開始しました。PC98RGBS PC-9801シリーズアナログRGB出力→VGA変換





































































































