- 1 名前::2024/09/20(金) 06:17:01.32 ID:Yk7P+AsS0●.net BE:323057825-PLT(13000)
権利範囲が広そうな特許7493117号の内容を見てみましょう。請求項1の内容は以下のとおりです。
中略
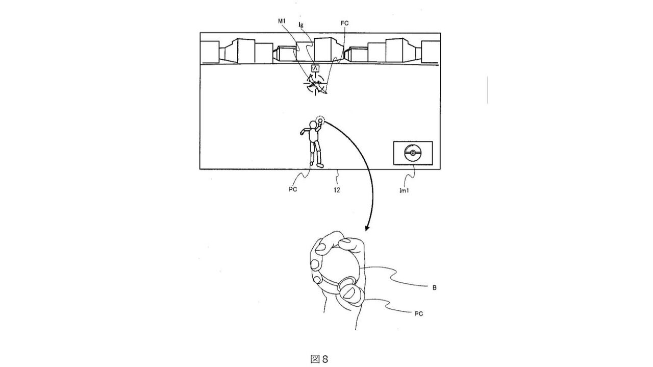
結局言っていることは、ボール(捕獲アイテム)をモンスター(フィールドキャラクタ)に投げて、捕獲成功判定を行い、捕獲成功ならばモンスターを所有状態にできる、
その際、捕獲の成功しやすさを何らかの指標(数字ではなく色やデザインでも良いと明細書に書いてあります)で示すというだけのことです。
ポケモンぽいゲームを作ろうと思うと回避は大変そうですし、意識していないと抵触してしまいそうです。
キラー特許という感があります。他の特許については追って解説する予定です。
任天堂が対パルワールド訴訟で使用した特許はたぶんこれ
https://news.yahoo.co.jp/expert/articles/59f880c5e13b9292f0e3ab2d1d55ce8bdbfdb97f
引用元:https://hayabusa3.2ch.sc/test/read.cgi/news/1726780621
- 3 名前:名無しさん@涙目です。:2024/09/20(金) 06:21:20.92 ID:Iao1A+ea0.net
ARKもあかんやん
- 6 名前:名無しさん@涙目です。:2024/09/20(金) 06:26:34.65 ID:qx5vn7CO0.net
任侠堂法務部の無双伝説
- 8 名前:名無しさん@涙目です。:2024/09/20(金) 06:27:58.29 ID:69JuXixt0.net
インディーズを訴えてどんな気持ち?
- 12 名前:名無しさん@涙目です。:2024/09/20(金) 06:32:30.78 ID:DxH31D/a0.net
あらゆることに特許持ってる任天堂がコレやるとゲーム何も作れなくなるな
- 13 名前:名無しさん@涙目です。:2024/09/20(金) 06:34:12.85 ID:iTufsMK80.net
任天堂は勝手にやらなきゃ割と寛容なんじゃないの
- 15 名前::2024/09/20(金) 06:35:53.27 ID:EyH4wPOO0.net
ボールの代わりに鉄アレイにしたらいいんじゃね??
- 23 名前:.:2024/09/20(金) 06:40:19.45 ID:pmB7amN/0.net
パルワールド側を擁護する馬鹿がいることに驚く
- 25 名前:名無しさん@涙目です。:2024/09/20(金) 06:40:45.74 ID:7MnYA3wD0.net
ちょっとポケモンに銃持たせて特許侵害してグッズ展開しようとしただけなのに可哀想だよね
- 30 名前:名無しさん@涙目です。:2024/09/20(金) 06:43:58.29 ID:CEQGxigE0.net
超えちゃいけないラインってやつね
- 32 名前:名無しさん@涙目です。:2024/09/20(金) 06:45:01.33 ID:uZkLIVR80.net
じゃあグッズは売り放題だね(´・ω・`)
- 33 名前:名無しさん@涙目です。:2024/09/20(金) 06:45:12.44 ID:ZKcCogAJ0.net
東京特許きょきゃきょくの見解は?
- 34 名前:名無しさん@涙目です。:2024/09/20(金) 06:45:13.51 ID:YSlE4bGZ0.net
10億かけて作ったゲームでインディ面は無理だろ。日本の老舗ゲーム会社ですらほとんどインディーメーカーになるわ
- 36 名前:名無しさん@涙目です。:2024/09/20(金) 06:48:03.60 ID:NTqyANl10.net
ケツで捕獲してウンコの中にモンスターを封じ込める感じでいけばセーフだったのに
- 38 名前:名無しさん@涙目です。:2024/09/20(金) 06:50:50.11 ID:RFAfP8wk0.net
🕶遊び方にパテントはない
- 49 名前:名無しさん@涙目です。:2024/09/20(金) 07:00:25.55 ID:76KR6M/B0.net
まだ特許期限切れてないんだ。
- 52 名前::2024/09/20(金) 07:01:21.23 ID:i7fDbIXn0.net
もうやってねーしどうでもいいかなって
- 53 名前::2024/09/20(金) 07:02:30.83 ID:i7fDbIXn0.net
またゲハでやれの流れか…
- 54 名前:名無しさん@涙目です。:2024/09/20(金) 07:03:06.85 ID:9FlrvJyP0.net
倒したモンスターを捕獲してレベル上げというのはドラクエが先だったかな
- 58 名前:名無しさん@涙目です。:2024/09/20(金) 07:06:37.74 ID:CGgO5NTT0.net
ドラクエモンスターズも捕獲率は表示してるけど、ボールは投げてないからな
- 61 名前:名無しさん@涙目です。:2024/09/20(金) 07:07:25.20 ID:M5vDU9/H0.net
いろんな銃で敵を撃つ特許取れるかな
- 77 名前:名無しさん@涙目です。:2024/09/20(金) 07:13:28.06 ID:XRLZ7lOb0.net
普通にゲームだけやってれば訴えられなかった
- 80 名前:名無しさん@涙目です。:2024/09/20(金) 07:14:51.82 ID:Yv+8KxQH0.net
すでに特許回避用のパッチ作ってそうw
- 81 名前:名無しさん@涙目です。:2024/09/20(金) 07:15:23.32 ID:VvVW8LJf0.net
ピポサルのやつは大丈夫なんだ
- 95 名前:名無しさん@涙目です。:2024/09/20(金) 07:23:34.09 ID:0/zcNTgt0.net
回避パッチすれば発売てきるんだよね?
- 96 名前:名無しさん@涙目です。:2024/09/20(金) 07:24:01.19 ID:phwjO0I+0.net
エストポリス伝記IIのカプセルモンスターパクったくせに!
- 97 名前:名無しさん@涙目です。:2024/09/20(金) 07:25:13.70 ID:ZGezkMQq0.net
ティアリングサーガの訴訟もほぼ却下されたんだよな
追加事項を追記すれば延長出来るらしいな
某コンマイが育成関連特許侵害でお馬のゲームを訴えていたが、追加事項を入れたが故に特許が延長されたのをお馬のゲーム側が知らなかったっぽいな